Register now to get rid of these ads!

Hot Rods Rearview mirror ~ revisited

Discussion in 'The Hokey Ass Message Board' started by HOTRODPRIMER, Nov 4, 2018.

  1. Rich B.
    Joined: Jan 23, 2008
    Posts: 761

    Rich B.
    Member Emeritus
    from Portage,IN

  2. My Ford sits lower than most cars on the road. By rights I should use a sunscreen on the back of my neck at night. I'm going to dig out an old day-night Ford mirror that I have, machine up an adapter to fit the mirror mount it has.
     
    HOTRODPRIMER likes this.
  3. denis4x4
    Joined: Apr 23, 2005
    Posts: 4,383

    denis4x4
    ALLIANCE MEMBER
    from Colorado

    E6F37F84-393A-438A-A0A6-ED72AF02B2C3.jpeg

    Rear view mirrors can be art too
     
    HOTRODPRIMER likes this.
  4. Here is the one in my coupe. I think it is from a dodge of some sort. Had the glass re-silvered as it is wedge shaped. Kinda neat and doesn't look out of place. KIMG0387.JPG KIMG0389.JPG
     
    HOTRODPRIMER likes this.
  5. Another one I snagged for another project. No markings on it at all. One side is a standard mirror. rotate the knob and the mirror flips over to a smoked look. KIMG0391.JPG KIMG0392.JPG KIMG0395.JPG
     
    BigO, kadillackid, BJR and 6 others like this.
  6. Just put it away till spring when the clocks go back forward and problem solved.
     
    HOTRODPRIMER likes this.
  7. That's EXACTLY the problem with newer headlights. Halogen (still used on the majority of new cars) is essentially the same color spectrum as the 'regular' lights, just a bit higher on the scale. HID and LED are monochromatic and your eye perceives them as brighter, even if they're the same lumen output.
     
    HOTRODPRIMER likes this.
  8. TagMan
    Joined: Dec 12, 2002
    Posts: 6,353

    TagMan
    ALLIANCE MEMBER

    lothiandon1940 and HOTRODPRIMER like this.
  9. That ain't going to happen. HRP
     
    swade41 likes this.
  10. That would be the perfect replacement mirror, if only they were still in business. HRP
     
  11. Petejoe
    Joined: Nov 27, 2002
    Posts: 12,579

    Petejoe
    Member
    from Zoar, Ohio

    HOTRODPRIMER likes this.
  12. Thanks Rick. HRP
     
  13. Get 53 54 GM mirror they have a day /night function at the flip of a lever, try obsolete Chevrolet parts stores. Look good work good.
     
    HOTRODPRIMER likes this.
  14. Mike
    Joined: Mar 5, 2001
    Posts: 3,539

    Mike
    Member

    I had one of these beveled mirrors in my Model T Tudor for a while. Like you said, it was fine in the daytime, but at night if there was one car behind me, it would appear in the mirror as three cars. Very disconcerting, ditched after about a week.
     
    Last edited: Nov 13, 2018
    HOTRODPRIMER likes this.
  15. Stogy
    Joined: Feb 10, 2007
    Posts: 27,193

    Stogy
    ALLIANCE MEMBER

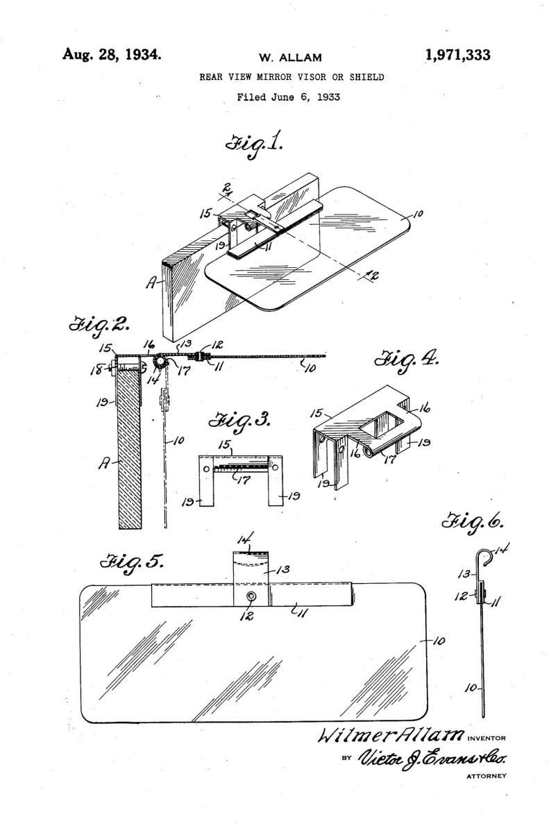
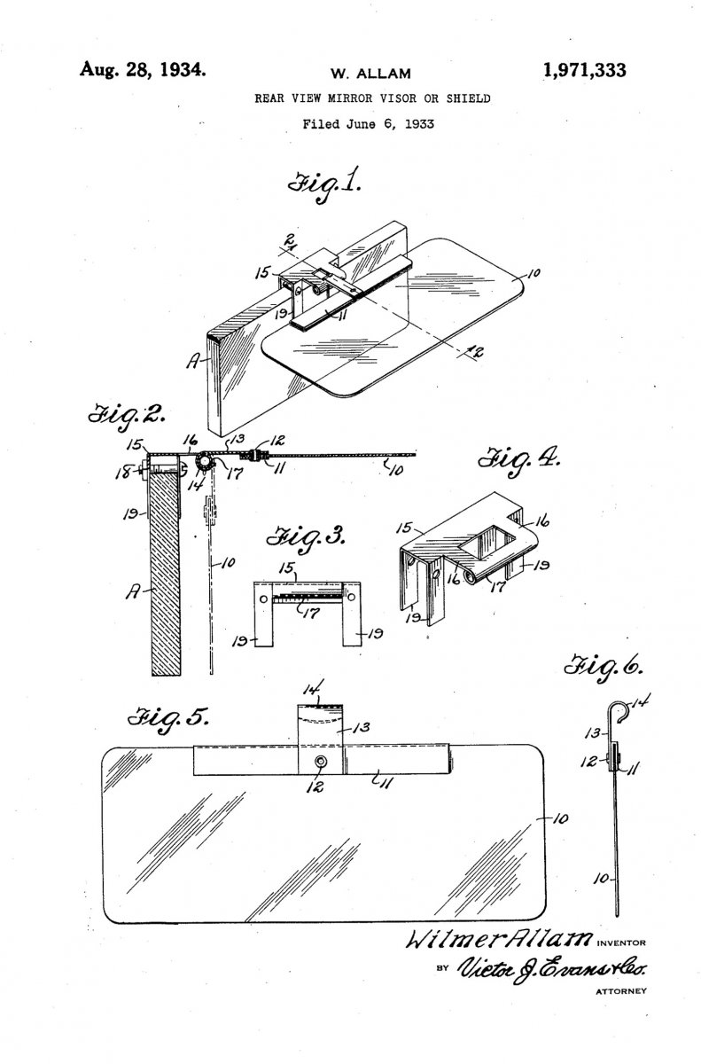
    Here's a patent Design Circa 1933 similar to what @TagMan posted that you could fab up for a project using plexi and some homemade bracketry...
    and be inspired period correct...;)

    I have also experienced the very distracting light that can happen at night as well...:confused:...so maybe I should make one as well...:D

    Rear_View_Mirror_GlareShield.jpg
     
    Last edited: Nov 30, 2018
    HOTRODPRIMER and TagMan like this.
  16. chevy57dude
    Joined: Dec 10, 2007
    Posts: 9,580

    chevy57dude
    ALLIANCE MEMBER
    1. Maryland HAMBers

    Ironic that chrome backed mirrors were a ''problem'' that had to be discontinued in the 70's.
    Driving at night becomes less enjoyable every year and those damn headlights on new cars make it so much worse.
     
  17. I was considering this for my car, use a piece of smoked plastic and have it so it drops over the existing mirror at night. The hinge would be a good idea too. So far it looks like a repro '55-57 T-Bird mirror may work for my Ford since it uses the same mount, I have to see if I can live with the reduced width.
     
    HOTRODPRIMER and Stogy like this.
  18. HOTRODPRIMER likes this.
  19. I had to work late last night and at 64 those bright lights are worse than the old high beams.
     
    HOTRODPRIMER likes this.
  20. jnaki
    Joined: Jan 1, 2015
    Posts: 11,269

    jnaki

    Hello,

    When I got the first 1940 Ford Sedan Delivery in high school, the rear view mirror was an afterthought. Sure, it was aimed at the rear window, but that door window was so high, it did nothing in the way of warnings. Unless the following car was a huge diesel or 4x4 truck or nowadays, a huge SUV, nothing was able to be seen in the mirror. The window was clear, no scratches, no foggy corners or areas to block the vision. The vision was not there of other cars or trucks. The only time was if a diesel truck or a Greyhound blocked the sun from coming in the sedan delivery.

    So, when we took out the rear window and put our long boards inside the opening, we did not miss not seeing out of the window. The outside mirror, as small as it was, did most of the grunt work about seeing what was next to us. Also, being careful teenagers, it did not bother us not to have the limited vision out of the rear window.
    upload_2019-3-29_3-55-27.png
    But, even as carefree 20 somethings, our second 40 Ford Sedan Delivery was a blast to cruise around and go to family functions. But, we were not finicky at just anything, but the lack of vision on that right rear quarter area was bothersome. All sedan delivery vehicles have this lack of vision, unless they have cameras or huge outside passenger mirrors. We tried to keep the look of the 60s modified stock look, a business style, not a chrome/mag wheel cruiser of the times.
    upload_2019-3-29_3-56-5.png
    Jnaki

    What bothered us the most was driving at night. Those night time driving times called for driving in the right hand lane and on the freeway’s, the far right lanes. Otherwise, the 1940 Ford Sedan Delivery was the most fun and coolest looking car/truck on the road. Not because we owned two similar models, but, my hot rod influenced wife liked driving the second sedan delivery, until that blind spot drove her up a wall.


    EXTRA: If anyone decides to get a fairly modern rear view mirror that looks traditional, do some research first, as there are incidents of silver liquid leaking out of some mirrors… on your seats, new carpeting, or plain floor board. (A word to the wise.)
     
    HOTRODPRIMER and Ron Funkhouser like this.
  21. 54vicky
    Joined: Dec 13, 2011
    Posts: 1,599

    54vicky
    Member

    that certainly explains things about British electrics:D:D
     
    HOTRODPRIMER likes this.
  22. This subject has been out of sight ,out of mind while the old beater has been at my friend Daves shop since December for upholstery but the car is about ready to come back home and the thought of the laser beam headlights in my rear view mirror are once again being thought about.

    I did purchase a day/night mirror for the ranch wagon that looks as though it's a original piece but nothing really looks correct for my old Deuce sedan.

    I really would love to find a piece like Bob posted earlier, I believe it would be perfect for me as well as many of you that prefer to keep your original mirror. HRP

    [​IMG]
     
  23. Here's another I recently picked up at an old antique store. Another one without markings, but is a day/night mirror KIMG0896.JPG KIMG0897.JPG KIMG0901.JPG
     
    HOTRODPRIMER likes this.
  24. Stogy
    Joined: Feb 10, 2007
    Posts: 27,193

    Stogy
    ALLIANCE MEMBER

    HOTRODPRIMER likes this.
  25. I'm watching some on eBay. Old Lincoln and Ford mirrors from around 1966 to 1972 or so. They have the width I need, all they need to do is go up to my mount. I was looking for the '55-57 T-Bird ones, mine is about 10" wide, the Bird ones I have to look up for the width, but anything 8.5" and up would be good.
     
    HOTRODPRIMER likes this.
  26. OLDSMAN
    Joined: Jul 20, 2006
    Posts: 2,422

    OLDSMAN
    BANNED

    You are right about things being brighter after cateract surgery. And no Halos around lights
     
    HOTRODPRIMER likes this.
  27. tim troutman
    Joined: Aug 6, 2012
    Posts: 1,304

    tim troutman
    Member

    just mounted this in my f1 50's GM day night repo . I think it looks to big .maybe I will get used to it. I don't think it will look right in my 40 0225802019.jpg 0225802019a.jpg
     
  28. Bullet Nose
    Joined: Nov 20, 2001
    Posts: 2,732

    Bullet Nose
    Member

    My Studebaker had a dash mounted mirror. When the car was finished, it was on a slight rake so I couldn't see anything but the rear seat in that mirror. I made a new bracket out of a piece of aluminum I-Beam and problem was solved.

    MirrorBrkt.jpg

    IMG_0089.JPG
     
    LOST ANGEL likes this.
  29. Stogy
    Joined: Feb 10, 2007
    Posts: 27,193

    Stogy
    ALLIANCE MEMBER

    Try to meter that...good luck...but yeah they are getting brighter and brighter and may times not well aimed...
     

Share This Page

Register now to get rid of these ads!

Archive

Copyright © 1995-2021 The Jalopy Journal: Steal our stuff, we'll kick your teeth in. Terms of Service. Privacy Policy.

Atomic Industry
Forum software by XenForo™ ©2010-2014 XenForo Ltd.