Register now to get rid of these ads!

TECH: 49-54 Chevrolet Master Cylinder Upgrade

Discussion in 'The Hokey Ass Message Board' started by TexasHardcore, Jun 1, 2009.

  1. Kool49
    Joined: Mar 14, 2010
    Posts: 297

    Kool49
    Member

    fbama73 , thanks for the input . Im kinda and a stand still waiting to here back on the other questions in another thread related to this . You may wanna check it out too. 1949 Chevy Fleetline brake mods
     
  2. Kool49
    Joined: Mar 14, 2010
    Posts: 297

    Kool49
    Member

    Just about done with my dual mc upgrade , thanks to this thread it helped out alot . I pretty much used the origianl plan with slight mods . Just thought more pics would be nice. Although this isnt to technical it isnt a walk in the park either. Alot of trial and error and in and out . There isnt much room under there. It will be worth it in the end , i just have to make a couple very small tweaks then ill be happy. ill remove it it and paint it after final mock up. Thanks again for this thread , really helps a guy save some cash................ ya im going to replace my floor pans later , then ill make a nice door to gain access to the mc .
     

    Attached Files:

    brading and 29EHV8 like this.
  3. thistle
    Joined: Jun 22, 2009
    Posts: 19

    thistle
    Member
    from Illinois

    Thanks for the tech. This is a huge upgrade and a great way to save some cash while doing it. Here's a quick pic of mine after powder coat. I'm a little nervous about welding cast but from what I read this should be as safe as it gets. Thanks again for a great tech.
     

    Attached Files:

    29EHV8 likes this.
  4. Dave K
    Joined: Jan 31, 2006
    Posts: 344

    Dave K
    Member

    With this parts list can I just use my existing hard lines?

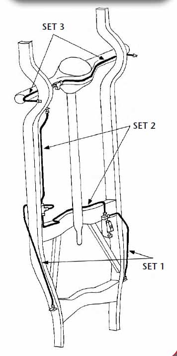
    Looking at the image of the 1949-50 brake line configuration it would appear that I will wind up with one wheel on circuit one and three wheels on circuit two? Is that OK or would it be better to bend new lines and have one circuit for the rear and one for the front? Are the 1951-54 plumbed different than this diagram?
     

    Attached Files:

  5. slick39
    Joined: Jan 20, 2008
    Posts: 695

    slick39
    Member
    from dallas ,ga

  6. 53sled
    Joined: Jul 5, 2005
    Posts: 5,817

    53sled
    Member
    from KCMO

    I ran all new when I did mine. I had the rear line blow before I upgraded, so I figured for another $15 why risk it.
     
  7. 49ratfink
    Joined: Feb 8, 2004
    Posts: 24,934

    49ratfink
    Member
    from California

    when I did mine I used some thick wall tubing with a br*** bushing to slide the pedal arm into rather than use parts of the old master cylinder.
     
  8. Harris
    Joined: Feb 15, 2007
    Posts: 863

    Harris
    Member

  9. Convert54
    Joined: Oct 27, 2010
    Posts: 56

    Convert54
    Member
    from Oklahoma

    great little home item. This is printed off now for my archives adn next project
     
  10. 51ChevPU
    Joined: Jan 27, 2006
    Posts: 1,076

    51ChevPU
    Member
    from Arizona

    Thanks for the pictures and great idea....
     
  11. robleticia
    Joined: Oct 15, 2007
    Posts: 2,495

    robleticia
    Member

    Well **** me runnin'! It figures I would find this thread after I get my floor all welded in place....DAMNIT! Cool tech, thanks!
     
  12. PurdueSD
    Joined: Jan 17, 2008
    Posts: 692

    PurdueSD
    Member

    Does any one know if this would also work on 47-53 pickups?
     
  13. 73super
    Joined: Dec 14, 2007
    Posts: 778

    73super
    Member

    I envision a whole lot less "online store bought conversion kits" being purchased after this article. Wow.. what a great idea! Much thanks. Will have to perform this little op' on my '49.
     
  14. The_Monster
    Joined: Sep 8, 2003
    Posts: 1,805

    The_Monster
    Member

    great tech! thanks!
     
  15. varnell1980
    Joined: Dec 15, 2012
    Posts: 4

    varnell1980
    Member

    Awesome thread. Just ordered the front disk brake conversion for my 54' and was wondering what I was gonna do with getting a new master cylinder. You have answered it for me. Here is another question for you, would this work for disk front and drum rear? Thanks!
     
    pharrand likes this.
  16. CaliDreamin'
    Joined: Jul 30, 2009
    Posts: 179

    CaliDreamin'
    Member

    Saweeeeeet. Was just getting ready to order a rebuild kit when I saw this!!!!!!!! Thanks.
     
  17. RMONTY
    Joined: Jan 7, 2016
    Posts: 2,662

    RMONTY
    Member

    Bumping this from WAY back, but hoping to get some info. 52 4Door Styleline, stock front drum brakes, and 89 S10 pickup rear end drum brakes. Will the OP's master cylinder choice 10-1329 be sufficient, too much or too little? All new lines are being run as well. Anyone recommend something different and why? Thanks!
     
  18. Depends on your S10, many used the same 7/8" bore as the Chevy pickup MC listed. If so, you are golden. FWIW I used this same MC on my 54.
     
  19. RMONTY
    Joined: Jan 7, 2016
    Posts: 2,662

    RMONTY
    Member


    Any quick way to tell that you know of? Don't wanna pull the brakes apart if I don't have to in order to measure. I dont remember the year of the pickup it came off of to be honest.....CRS kicking in....
     
  20. Pulling a wheel cyl is the only true way.
     
  21. thistle
    Joined: Jun 22, 2009
    Posts: 19

    thistle
    Member
    from Illinois

    I did this mod a while back. posted pic above. I run a blazer/s10 rear end on my 54. works perfect. hope that's some help.
     
  22. buick bill
    Joined: Dec 18, 2008
    Posts: 862

    buick bill
    Member
    from yreka;ca

    i agree welding steel to cast should not work .seen somewhere else someone brazed it .sorry for digging up the dead , but im there now,so any fresh info is good .seems like a shop would make upthe brackets . $50.oo would be a FARE price .the $300.oo im seeing is robbery !!
     
  23. Gearhd69
    Joined: Aug 19, 2006
    Posts: 183

    Gearhd69
    Member

    Just to let all know I have done this on 4 cars and all worked out excellent. There is a way to weld cast to steel and if done properly and cooled properly it will hold up just fine. There is a risk but I myself have not had any problems and all the cars have been on the road for quite a few years.
     
    29EHV8 likes this.
  24. scoop
    Joined: Jul 4, 2001
    Posts: 1,531

    scoop
    Member

    Working on my daughters 52 and I will do this conversion.
     
    29EHV8 likes this.
  25. Great DIY tech thread!
    Gotta love these eh.

    -Shiny
     

Share This Page

Register now to get rid of these ads!

Archive

Copyright © 1995-2021 The Jalopy Journal: Steal our stuff, we'll kick your teeth in. Terms of Service. Privacy Policy.

Atomic Industry
Forum software by XenForo™ ©2010-2014 XenForo Ltd.